Nous présenterons les performances, les méthodes de fonctionnement sûres et les paramètres techniques du transformateur : S9 \ S11 \ S13 Transformateurs remplis de liquide

Ce manuel s'applique aux transformateurs de puissance entièrement scellés imprégnés d'huile produits par notre société, d'une capacité nominale de 3150 KVA et inférieure, et d'un niveau de tension de 35 KV et inférieur.
1. Uses and characteristics
En plus d ' être adapt é pour les transform ateurs de puissance généra ux , les transform ateurs enti èrement sc ell és immer g és dans l ' hu ile sont particuli èrement adapt és pour la pét roch imi que , la mét all ur gie , le tex tile , l ' industrie lég ère et les entreprises , les min es et les zones rura les avec une hum id ité élev ée et un entr eti en incon veni ent .
Ce produit annule le dispositif de protection de l'huile tel que l'armoire de stockage de l'huile et l'absorbeur d'humidité pour s'assurer que l'huile du transformateur ne entre pas en contact avec l'air, tous les joints sont scellés avec un excellent caoutchouc spécial, en utilisant l'injection d'huile sous vide, dans des circonstances normales, le transformateur peut être utilisé en continu pendant 20 ans sans aucun traitement, faible coût d'entretien est la caractéristique principale de ce produit, et la fiabilité de fonctionnement est améliorée, la durée de vie est prolongée.
2. Model description
S□-M-□ □
S - three phases
□-Code de niveau de performance (11, 13, 20)
M – sealed
□ – Rated capacity (kVA)
□-Niveau de tension haute tension (10kV)
3. Transportation
1. Lors du transport et de l'installation, lorsque vous soulevez le transformateur, les quatre grues sur le réservoir de carburant doivent être utilisées en même temps pour supporter le poids total du transformateur après que l'assemblage final du transformateur soit rempli de la quantité d'huile du transformateur. Si cette exigence ne peut pas être satisfaite, un transformateur de levage de poutre spécial doit être utilisé.
2. Les pièces de fixation de ce produit sont toutes des écrous de desserrage pour assurer une fixation fiable. Cependant, pendant le transport, il est toujours nécessaire de s'assurer que le transformateur a une stabilité suffisante, et la pente du transformateur ne devrait pas être supérieure à 15 °. Lors du levage, il doit être soulevé et relâché doucement, et dans l'absence d'équipement de levage, le sol doit se déplacer lentement pour éviter de violentes vibrations.
4. Acceptance and storage
1. Après avoir reçu le transformateur, l'utilisateur doit immédiatement vérifier le modèle de produit et les spécifications reçues selon la plaque signalétique, si les spécifications sont conformes au contrat de commande, puis vérifier soigneusement s'il y a des dommages à chaque partie du transformateur, si les pièces vulnérables, telles que les thermomètres de signal, les boîtiers, etc. sont endommagés, et si le tuyau de thermomètre de signal est aplatisé et cassé. Une attention particulière doit être accordée à l'intégrité du manchon en porcelaine, qui est jugé en fonction de la fuite d'huile dans le boîtier, et vérifiez s'il y a une fuite d'huile ou une fuite d'huile dans chaque partie d'étanchéité du transformateur.
2. Si le transformateur n'est pas installé et mis en service immédiatement et doit être stocké pendant une longue période, tous les joints doivent être scellés, les pièces de rechange doivent être stockées correctement et la situation de stockage doit être vérifiée régulièrement.
5. installation et entretien des transformateurs
1. Installation de transformateurs
1.1 L'utilisateur utilise un chariot élévateur ou d'autres outils de manutention pour transporter en douceur le transformateur à la position d'installation désignée.
1.2 Veillez à ne pas endommager le boîtier et les autres pièces usées pendant l'installation, et ne grattez pas le réservoir de carburant ou le film de peinture.
2. critères d'inspection et de jugement avant la mise en service du transformateur
2.1 Après que le transformateur de puissance entièrement scellé et immergé dans l'huile est transporté à l'utilisateur, il n'est pas nécessaire de vérifier le cœur.
2.2 Le transformateur doit être testé selon la « Norme d'essai pour la remise d'équipements électriques en génie d'installation électrique ».
2.2.1 Mesurer la résistance DC de l'enroulement et du manchon, et la valeur ne doit pas être supérieure à 2% par rapport à la valeur mesurée en usine à la même température.
2.2.2 Vérifiez les changements de tous les robinets et il ne devrait pas y avoir de différence significative par rapport aux données d'usine.
2.2.3 Vérifiez si la désignation du groupe de couplage du transformateur est conforme à la marque de la plaque signalétique.
2.2.4 La valeur de résistance à l'isolation doit être proche de la valeur d'usine à la même température et ne doit pas être inférieure à la valeur indiquée dans le tableau 1.
Tableau 1 Valeur de résistance d'isolation (MΩ)
temperature
| 20 | 30 | 40 | 50 | 60 |
<6 | 400 | 200 | 100 | 50 | 25 |
6 or more but less than 20 | 800 | 400 | 200 | 100 | 50 |
20 or more than 60 | 1000 | 500 | 250 | 125 | 65 |
description : 1. La bobine testée est mise à la terre pendant la mesure. 2. Utilisez un compteur mégaohm de 2500 V ou un compteur spécial.
2.2.5 La fréquence de construction externe résiste à la tension d'essai de l'enroulement et du boîtier est indiquée dans le tableau 2.
Tableau 2 Normes expérimentales pour la tension de tenue de fréquence de puissance d'isolation du matériel électrique à haute tension
Tension évaluée (KV). | 3 | 6 | 10 | 15 | 20 | 35 |
Factory experimental value | 18 | 25 | 35 | 45 | 55 | 85 |
Handover experimental values | 15 | 21 | 30 | 38 | 47 | 72 |
2.2.6 Les articles d'essai conventionnels de l'huile de transformateur sont inspectés selon les exigences de l'huile neuve (avant la mise en service), voir tableau 3.
Tableau 3 Articles expérimentaux et normes de l'huile de transformateur avant la mise en service
Numéro de série | Items | Nouvelle huile dans le réservoir avant la mise en service |
1 | appearance | Transparent et exempt d'impuretés |
2 | Flash point C (sealed) | 140 |
3 | Moisture mg/1 (ppm). | ≤20 |
4 | Acid value mgKOH/g | <0.03 |
5 | Breakdown voltage KV (2.5mm) oil gap | 35KV and below: ≥35 |
6 | Le milieu est perdu tangentiellement des tangentes by 8% (90°C). | ≤0.7 |
7 | Interfacial tension mN/m (25°C). | ≥35 |
8 | Water-soluble acid (PH). | ≥5.4 |
2.2.7 Méthode de prélèvement des échantillons d'huile
(1) Frottez et séchez la tasse d'essai en verre avec un diamètre d'environ 80-100mm et le cylindre de seringue d'environ 100ml.
(2) Dévissez le couvercle de la soupape d'échantillon d'huile au bas du réservoir de carburant.
(3) Essuyez la sortie de la vanne d'échantillon d'huile et le voisinage avec du papier ou un chiffon propre.
(4) Alignez la coupelle d'essai en verre avec la sortie de soupape.
(5)Utilisez une clé pour déviser lentement le boulon de la vanne d'échantillonnage d'huile pour laisser l'huile s'écouler dans la tasse, et en même temps mettre l'aiguille de seringue dans la sortie d'huile de la vanne d'échantillonnage d'huile pour dessiner l'échantillon d'huile.
(6) La quantité d'échantillon d'huile est déterminée par l'utilisateur en fonction des besoins du projet expérimental.
(7) Lorsque l'échantillon d'huile est collecté, serrer le boulon de la vanne de l'échantillon d'huile et le couvercle de la vanne.
(8)Ouvrez le couvercle du tuyau d'injection d'huile sur la partie supérieure du couvercle de la boîte du transformateur, versez lentement l'huile du transformateur du même modèle, le même poids, et passez le test dans le tuyau d'injection d'huile, serrez le couvercle du tuyau d'injection d'huile, et l'échantillon d'huile et le processus de réapprovisionnement en huile sont terminés.
3. entretien des transformateurs
3.1 Les normes d'entretien et d'inspection des transformateurs entièrement scellés immergés dans l'huile sont les suivantes dans le tableau 4 et le tableau 5.
Tableau 4 Normes d'inspection régulière
Numéro de série | Inspection items | Inspection essentials | Cycle | Judgment criteria | remark |
1 | Résistance d'isolation | Use a 2500V rocking meter or a Instrument de mesure avec le même effet Mesurer la phase au sol | Irregular | 35KV side: 270MΩ 10KV side: 200M Ω 1KV side: 50MΩ | After a serious overvoltage or serious accident, this experiment is carried out |
2 | Insulating oil | Chromatographic analysis | 6 years | GB7252-87 "Guidelines for the Analysis and Judgment of Dissolved Gas in Transformateur Oil" | After a serious overvoltage or serious accident, this L'expérience n'est pas limitée par la période |
3 | thermometer | 1. inspection de tache interne (absorption de rouille et d'humidité) 2. Gask condition 3. indication de la température, indiquant l'action 4. Temperature rating | 2 years | 1. No rust 2. No damage 3. Indiquez l'action normale (tapez doucement) 4.85°C | |
4 | Niveau d'huile gauge | 1. External inspection 2. si la surface de l'huile est pleine d'huile | 1 year | 1. No rust, no oil stains on the glass 2. si la ligne de surface d'huile peut être vue | There is no oil level gauge Cet article ne sera pas inspecté |
5 | casing | Statut 1. Terminal statut 2. Sleeve 3. Does oil leak? | 2 years | 1. il n'y a pas de relâchement ou de décoloration 2. il n'y a aucun dommage ou dégradation 3. aucune fuite d'huile ou fuite d'air | S'il y a une anomalie, il devrait be dealt with in time |
6 | Grounding wire | Rugged state | 2 years | Pas de desserrage, pas de fils cassés | |
7 | pressure release valve | 1. Whether the seal is oily 2. Si la connexion du fil conducteuris firm | 2 years | 1. No oil seepage 2. s'il y a une anomalie, il devrait être traité à temps | If there is leakage Traitez-le en temps opportun |
Tableau 5 Normes d'inspection quotidienne
Numéro de série | Inspection items | Inspection essentials | Cycle | Judgment criteria | remark |
1 | Body appearance | Il n'y a pas de saleté, de fissures ou d'infiltration d'huile | January | There should be no dirt, cracks, oil leakage, etc | S'il y a une anomalie, il devrait be dealt with in time |
2 | The sound and odor of the body | Abnormal sounds and smells (hearing, smell) | January | 1. Sounds and vibrations caused by excitation are normal 2. Abnormal sounds Tel que desserrage et déchargement de l'écrou de fixation de la partie conductrice 3. la combustion de l'isolationwill have a special odor | If there is any abnormality, Enquêter sur la cause et la traiter dans un timely manner |
3 | Body temperature | Si l'élévation de température est normale | January | The load current borne by the transformerEst liée à l'élévation de température de l'huile surface | If there is any abnormality, investigate the cause and deal with it in a timely manner |
4 | Body oil surface | Si la surface d'huile est normale (table de surface d'huile) | January | L'huile doit être remplie d'une jauge de niveau d'huile | If there is no oil level gauge, Aucune inspection ponctuelle ne peut être effectuée |
5 | current | Si le courant dépasse la valeur admissible et Si le courant triphasé est équilibré (Ammeter) | January | Le courant de chaque phase est à peu près équilibré dans la plage nominale | If the imbalance is serious, it should be adjusted in time |
3.2 Traitement des infiltrations d'huile et méthode de réapprovisionnement en huile
3.2.1 Si la fuite d'huile au joint est présente, la spirale peut être serrée avec une clé et les taches d'huile peuvent être essuyées à sec.
3.2.2 Si le matériau d'étanchéité provoque des infiltrations d'huile, le joint doit être remplacé.
3.2.3 Les infiltrations d'huile dans la soudure doivent être traitées à temps.
3.2.4 Après le traitement d'infiltration d'huile, la méthode de réapprovisionnement en huile est la même que le point 8 du 2.2.7.
3.2.4.1 Quant ité de ré ap prov isi onnement en h uile : Dans des circon stances norma les , la quant ité d ' hu ile qui s ' in fil tre du réser voir est faible , de sorte que la quant ité de remp l iss age d ' hu ile est so umise au remp l iss age d ' hu ile sur le cou ver cle du réser voir , et la temp ér ature de l ' hu ile et la temp ér ature ambi ante à ce moment - là peuvent être ignor ées .
3.3 Le but de l'injection d'huile sous vide des transformateurs entièrement scellés est d'éliminer le gaz dans la bobine autant que possible dans des conditions de vide, de sorte que l'huile du transformateur puisse combler les lacunes à l'intérieur de la bobine et du matériau d'isolation et améliorer les performances d'isolation et la durée de vie du transformateur.Étant donné que la quantité de réapprovisionnement en huile due à la fuite d'huile est très faible, elle n'affecte pas la puissance absolue de la bobine
Performance de bord (le fabricant stipule dans le processus d'injection d'huile sous vide : dans les conditions d'injection d'huile sous vide, l'huile est injectée à environ 100 mm du couvercle de la boîte, puis l'injection d'huile est arrêtée, mais le vide est poursuivi pendant 1 heure, puis l'huile est injectée du tuyau d'injection d'huile du couvercle de la boîte pour faire monter le niveau d'huile au sommet du tuyau d'injection d'huile).
6. Permitted operation mode
1. Rated operation mode
1.1 Le transformateur doit être équipé d'un relais de protection contre la température, qui peut fonctionner selon les spécifications de la plaque nommée dans les conditions de refroidissement spécifiées.
1.2 La température admissible pendant le fonctionnement du transformateur est vérifiée en fonction de l'augmentation de la température de l'huile supérieure, et la valeur admissible de l'augmentation de la température de l'huile supérieure est de 55 °C, mais la température maximale ne doit pas dépasser 95 °C. Afin d'éviter le vieillissement rapide de l'huile de transformateur, la température supérieure de l'huile ne devrait pas dépasser souvent 85 ° C.
1.3 La tension appliquée des transformateurs step-up et des transformateurs step-down peut être supérieure à la valeur nominale, mais généralement pas plus de 5% de la valeur nominale, peu importe où est situé le robinet de tension, si la tension primaire est appliquée, elle ne dépasse pas 5% de sa valeur de tension correspondante, puis le côté secondaire du transformateur peut avoir un courant nominal.
2. Allowable overload
2.1 Le transformateur peut fonctionner en surcharge normale et en surcharge accidentelle. La surcharge normale peut être utilisée régulièrement et sa valeur admissible est déterminée en fonction de la courbe de charge du transformateur, du centre de température du milieu de refroidissement et de la charge du transformateur avant la surcharge. La surcharge accidentelle n'est autorisée qu ' en cas d'accident. Par exemple, si l'un des différents transformateurs en fonctionnement est endommagé et qu 'il n'y a pas de transformateur de secours, les autres transformateurs sont autorisés à fonctionner en fonction de la surcharge accidentelle.
2.2 La valeur admissible de la surcharge d'accident du transformateur doit être spécifiée dans le tableau suivant:
| Le rapport de la surcharge d'accident à la charge évaluée | 1.3 | 1.5 | 1.75 | 2.0 | 3.0 |
Durée admissible de surcharge (minutes) | 120 | 45 | 20 | 10 | 1.5 |
3. courant déséquilibré du courant de court-circuit admissible.
3.1 Le courant de court-circuit du transformateur ne doit pas dépasser 25 fois le courant nominal, et le temps de passage du courant de court-circuit ne doit pas dépasser la valeur calculée selon la formule suivante ::
T = 900/K secondes, où K est un multiple du courant de court-circuit stable au courant nominal.
3.2 Pour les transformateurs dont les bobines sont connectées selon Y, yn0, le courant de la ligne médiane ne doit généralement pas dépasser 25 % du courant nominal de la bobine basse tension (sauf exigences particulières des utilisateurs)
Manuel d'instructions pour les composants généraux des transformateurs de puissance immergés dans l'huile
1. Overview
Ce manuel d'instructions convient aux composants généraux des transformateurs de puissance produits par notre usine, y compris les boîtiers, les changeurs de robinet, les soupapes de décharge de pression, les volets d'échantillonnage d'huile, les sièges de thermomètre, les boulons au sol et les soupapes de vidange d'huile. Les autres composants standard sont accompagnés de manuels d'instruction.
2. Use and maintenance
(1) Manuel d'instructions pour les traversées de transformateur de 35 kilovolts et moins

figure 1

Figure 2 Figure 3
1. La figure 1 est un bo î tier compos ite , utilisé pour une tension de 1 000 vol ts et inf érieure , le courant est de 300 - 3000 A . La figure 2 est un manch on de type câ ble , utilisé pour une tension de 10 mille vol ts , le courant est de 50 - 300 A . La figure 3 montre un manch on file té avec une tension de 35 k V et un courant de 35 - 600 A .
2. Lorsque le transformateur quitte l'usine, le boîtier est assemblé sur le réservoir d'huile du transformateur et envoyé à l'utilisateur avec le transformateur.
3. si vous devez démonter ou remplacer le type de porcelaine, il doit être effectué de la manière suivante.
(1)Boîtier composite, soulevez d'abord le corps de levage, puis retirez le plomb de la partie inférieure du boîtier, et enfin dévissez tous les écrous de fixation, retirez le boîtier et remplacez le boîtier de remplacement qui a été frotté et séché.
(2)Pour le boîtier de type câble, lors du remplacement du boîtier, le boîtier peut être remplacé à l'extérieur, et l'écrou du joint doit être dévisé lors du remplacement, et le joint doit être tiré avec un fil de cuivre ou une ceinture de fil pour éviter de glisser dans le réservoir d'huile, puis retiré, couvercle en porcelaine, joint d'étanchéité et plaque de pression, etc.
4. lors de l'installation du boîtier sur le réservoir de carburant du transformateur, les questions suivantes doivent être notées:
(1)Pour le boîtier composite, afin de serrer complètement la partie en porcelaine sur le couvercle de la boîte du transformateur pour éviter les fuites d'huile, les parties supérieure et inférieure du boîtier doivent être serrées pour fixer l'écrou de la partie en porcelaine.
(2)Pour le boîtier de type câble, l'écrou de la vis de presse qui fixe le boîtier doit être serré uniformément, puis la tige conductrice est fixée après que le boîtier est fermement installé sur le réservoir d'huile du transformateur.
5. Dans l'utilisation pérenne, le boîtier doit être frotté fréquemment en fonction de la situation de saleté pour éviter que la surface du manchon en porcelaine ne se décharge.
(2) No excitation tap-changer
Les transformateurs de puissance entièrement scellés à trois phases imprégnés d'huile produits par notre société sont généralement équipés de changeurs de robinet sans charge de type WSP sur le couvercle de la boîte, afin de changer le changeur de robinet latéral haute tension lorsqu 'il n'y a pas d'électricité.
1. La structure typique du type WSPII1 sans excitation de régulateur de tension au point neutre est montrée dans la figure 4.
2. Pour la valeur de tension indiquée par l'indication numérique du cadran du robinet dans la plage de régulation de tension de ± 5 % : 1 indique le connecteur de robinet avec 5 % de la valeur de tension nominale, 2 indique la valeur de tension nominale et 3 indique le connecteur de robinet avec -5 % de la valeur de tension nominale.
3. Lors du changement de position du changeur de robinet, la vis sur le couvercle de l'article 4 doit être dévisée et retirée, la partie de positionnement de la poignée de l'article 3 doit être retirée du trou de rainure, puis l'article 2 est tourné à la position de robinet requise, et la partie de positionnement de la poignée doit être intégrée dans le trou de rainure correspondant et recouverte d'un couvercle.
4. Si le changeur de robinet fonctionne souvent dans une position en raison des besoins du transformateur, afin d'éliminer le film d'oxyde et les taches d'huile sur la pièce de contact et d'assurer un bon contact, peu importe si le transformateur a besoin de changer la tension, le changeur de robinet doit être tourné au moins 10 fois par an. S'il n'est pas nécessaire de changer la tension, elle sera toujours fixée dans la position d'origine après la rotation, et la position du robinet doit être modifiée et le pont ou le multimètre doit être utilisé pour mesurer le chemin avant de pouvoir être mis en fonctionnement.
5. Si l'huile du transformateur fuit du changement de robinet, découvrez d'où elle fuit. Si l'huile fuit du couvercle du réservoir de carburant du transformateur et de la bride du changeur de robinet, l'écrou plat de l'article 6 doit être serré immédiatement, et si l'arbre et la bride fuisent d'huile, l'écrou de l'article 5 doit être serré, mais il ne doit pas être serré trop serré pour éviter une augmentation excessive du couple de rotation.

Figure 4 Changeur de taraudage type 1 WSPIII
S'il s'agit de la régulation de tension moyenne, le changeur de robinet sans excitation WPS II.1 est utilisé, et sa méthode de fonctionnement et d'entretien est fondamentalement la même que ci-dessus. Pour les changeurs de robinet sans excitation autres que ceux ci-dessus, veuillez vous référer au manuel correspondant du changeur de robinet pour plus de détails.
(3) Pressure release valve
1. utilisation du produit et Performance Introduction:
Les soupapes de décharge de pression (ci-après dénommées soupapes de décharge) conviennent aux transformateurs isolés liquide ou gazeux, aux transformateurs, aux changeurs de robinet en charge, aux commutateurs haute tension, aux condensateurs et à d'autres produits pour protéger les réservoirs de carburant.
Lorsqu ' un accident se produit à l'intérieur du transformateur ou du changeur de robinet en charge, une partie du transformateur est gazéifiée, provoquant une augmentation rapide de la pression à l'intérieur du réservoir du transformateur. Si vous ne prenez pas de protection fiable, le réservoir peut se déformer ou même éclater. La vanne de décharge protège le réservoir du transformateur contre les dommages. Lorsque la pression du réservoir de carburant atteint la pression de fonctionnement de la soupape de décharge, la soupape de décharge s'ouvrira dans les 2 millisecondes pour libérer la surpression dans le réservoir de carburant à temps.
Une fois que la soupape de décharge est ouverte, la pression dans le réservoir de carburant tombe à environ 53 - 55% de la pression de fonctionnement, et la soupape de décharge peut être fermée de manière fiable. Cette fonction spéciale de la soupape de décharge est la nécessité spéciale de l'objet de protection, qui peut protéger efficacement le réservoir de carburant des dommages Lorsque la pression dans le réservoir augmente à nouveau et atteint la pression de fonctionnement, la soupape de décharge fonctionnera à nouveau jusqu'à ce que la pression dans le réservoir tombe à la valeur normale. Lorsque le transformateur est mis sous tension, le 11ème dispositif de sécurité doit être retiré.
Parce que la soupape de décharge peut être fermée de manière fiable après l'action, l'air et l'eau à l'extérieur du réservoir de carburant ne peuvent pas entrer dans le réservoir de carburant, et l'huile du transformateur ne sera pas polluée par l'atmosphère.
2. Modèle, spécifications et paramètres de base
2.1 model
YSF□-□ □ □
YSF – Pressure Relief Valve Code
□ - Design numéro de série
□ – Turn on the pressure kPa
□ - Le calibre efficace de l'injection d'huile mm
□ - Conditions environnementales du signal d'alarme et dispositif de verrouillage*
※: 1. utilisé pour la marque de signal mécanique «J».
2. Pour une utilisation dans les zones tropicales humides, ajouter «TH» après la marque «J».
3. Si un dispositif de verrouillage est utilisé, ajoutez "B" après.
For example: YSF6-35/25JTHB
C'est - à - dire que le diamètre d'injection d'huile φ 25mm, la pression d'ouverture est de 35kPa, avec un signal d'alarme mécanique, il est utilisé pour le dispositif de verrouillage de la zone humide et chaude, et la sixième conception de la soupape de décharge de pression.
2.1 Les spécifications et les paramètres de base sont présentés dans le tableau 1
3. la structure de la soupape de libération de pression structurelle est illustrée à la figure 5.
Tableau 1 Spécifications et paramètres de base
Effective caliber (mm) | Turn on the pressure (kPa) | Open pressure limit deviation (kPa). | Turn off the pressure (kPa) | Sealing pressure (kPa) |
φ25 φ50 | 15 | ±5 | 8 | 9 |
25 | 13.5 | 15 | ||
35 | 19 | 21 | ||
55 | 29.5 | 33 |

Fig.5 Schéma de la structure de la soupape de décharge
4. Use
Choisissez un équipement de soupape de décharge avec un dispositif de verrouillage, et la broche de verrouillage doit être retirée avant que l'équipement ne soit mis en fonctionnement, sinon la soupape ne peut pas être ouverte.
Après le fonctionnement de la soupape de décharge de pression pendant le fonctionnement, la tige de marqueur doit être réinitialisée après que le défaut a été trouvé pour la réutilisation. La soupape de décharge ne peut pas être retirée à volonté pendant l'installation.
La vanne de décharge de pression a une fuite d'huile, et des mesures doivent être prises pour la résoudre à temps, et les principales raisons de la fuite d'huile sont à peu près les suivantes ::
A. Pour une raison quelconque, la pression dans le réservoir de carburant est trop élevée, qui a dépassé la pression d'étanchéité de la soupape de décharge, mais n'a pas encore atteint la pression d'ouverture, provoquant une fuite.
B. Certains des anneaux d'étanchéité de la vanne ont été vieillis et échoués, et l'anneau d'étanchéité échoué doit être remplacé par le fabricant à temps.
C. S'il y a un objet étranger sur la surface d'étanchéité, il peut être éliminé à temps.
5. Maintenance and overhaul
5.1 Profitez de l'occasion de chaque entretien de panne d'alimentation de l'équipement électrique pour effectuer l'entretien suivant de la vanne.
A. Si l'action d'ouverture est sensible.
B. Si la bague d'étanchéité a vieilli, déformé ou endommagé. Si des anomalies sont trouvées, elles doivent être remplacées à temps pour éviter les fuites d'huile ou même la défaillance de la vanne de décharge due au vieillissement de la bague en caoutchouc.
C. Dégagez le corps étranger dans la valve.
D. Si les pièces sont rouillées, déformées ou endommagées.
5.2 L'utilisateur doit préparer plusieurs soupapes de décharge en cas de remplacement lors de l'inspection.
(4) Oil sample flap
Il est généralement installé dans le sens du côté basse pression de la partie inférieure du réservoir de carburant pour les échantillons d'huile. Lors de l'utilisation, dévissez d'abord le couvercle, placez le tuyau d'échantillonnage d'huile sur le joint souple 1 : puis tournez lentement le bouchon jusqu'à ce que l'huile puisse être libérée du connecteur, et vissez le couvercle après l'achèvement.

Figure 6
(5) Thermometer seat
Pour mesurer l'élévation de température de la surface d'huile du transformateur. Le thermomètre à mercure pour la mesure est fourni par l'utilisateur. La structure du siège du thermomètre est montrée à la figure 7. La prise du capteur de température est remplie d'huile de transformateur, et lorsque l'augmentation de la température de la surface de l'huile est mesurée, il suffit d'ouvrir le couvercle et d'insérer le thermomètre au mercure. Après avoir mesuré, retirez le thermomètre et serrez à nouveau le couvercle.

Figure 7
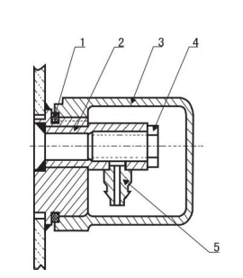
(6) Grounding bolts
Un boulon de masse est soudé à la partie inférieure du côté basse tension du réservoir pour la mise à la terre globale du transformateur. Sa structure est illustrée à la figure 8. Dans la laveuse à l'article 2, la connexion domestique est connectée à la barre de mise à la terre, et le boulon de l'article 3 est serré pour assurer le fonctionnement sûr du transformateur. Pour une identification facile, il y a un signe de mise à la terre.

Figure 8
(7) Oil flap
La vanne de vidange d'huile est installée dans la direction du côté basse tension du réservoir de carburant pour les accidents de transformateur ou pour le nettoyage et le drainage de l'huile.

Figure 9

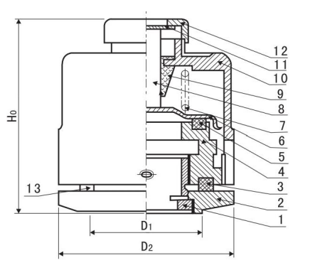
Composant immergé dans l'huile entièrement scellé de transformateur de puissance
Numéro de série | Code | Name | quantity | Remarks |
11 | tap-changers | 1 | ||
10 | Signal thermometer mount | 1 | There are more than 1000KVA | |
9 | Mercury thermometer holder | 1 | ||
8 | Ground bolt | 1 | ||
7 | Oil sample flap | 1 | ||
6 | Transformateur cabinet | 1 | ||
5 | Gas relays | 1 | There are more than 800KVA | |
4 | Low pressure casing | 4 | ||
3 | High pressure casing | 3 | ||
2 | Niveau d'huile gauge | 1 | ||
1 | Valve de décharge de pression | 1 |
- - - - - - - - - - - - -S9 \ S11 \ S13 Transformateurs remplis de liquides
