Nous présenterons les performances, les méthodes de fonctionnement sécurisées et les paramètres techniques de l'appareil de commutation moyenne tension KYN28 - 12

Utiliser des conditions environnementales
◆ Température de l'air ambiant : Limite supérieure 40 ° C Limite inférieure -10 ° C dans les zones générales:
◆ Altitude : 1000m ;
· Humidité:
Humidité relative: la moyenne quotidienne n'est pas supérieure à 95% et la moyenne mensuelle n'est pas supérieure à 90%;
Pression de vapeur d'eau: la moyenne quotidienne n'est pas supérieure à 2.2KPa, et la moyenne mensuelle n'est pas supérieure à 1.8KPa
La condensation peut se produire lorsque la température s'effondre, accompagnée de saleté, et ce produit convient à deux conditions environnementales plus sévères que les conditions normales suivantes:
(1). Condensation peu fréquente (pas plus de deux fois par mois en moyenne) avec une saleté légère;
(2). Généralement pas de condensation (pas plus de deux fois par an en moyenne) avec une pollution grave;
◆ Il n'y a aucun incendie, risques d'explosion et pollution sérieutilisation assez pour corroder le métal et endommager l'isolation et d'autres endroits durs;
◆ Il n'y a pas de vibrations violentes, de bosses et d'inclinaison verticale de pas plus de 80;
Remarque : (1) Le stockage et le transport sont autorisés à -30 ° C ;
(2) Lorsque l'altitude dépasse 1000m, elle doit être traitée conformément à la norme JB/2102 "Exigences techniques pour les zones d'altitude pour l'utilisation d'appareils électriques à haute tension"; Lorsque l'altitude ne dépasse pas 2000m, l'équipement auxiliaire à basse pression n'a pas besoin de prendre de mesures;
(3) Lorsque les conditions réelles d'utilisation sont différentes de ce qui précède, il convient de négocier entre l'utilisateur et le fabricant.
Modèle et signification
K. Y N 28 - 12 / □ - □
Rated Courant de court-circuit de rupture (KA)
Rated Courant (A)
Rated tension (KV).
└─Design numéro de série
└─Intérieurs
└─ Déplacez le type
Métal Armure
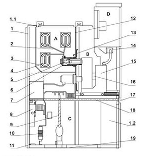
Diagramme schématique de la structure du commutateur
figure 1

A. Compartiment de disjoncteur B. Compartiment de busbar
C. C. Salle de câbles D. Salle des instruments Relay
1. Busbar 2 Disque de contact statique 3. Circuit Breaker
4. Commutateur de mise à terre 5. Transformateurs actuels
6. Diviseur de tension 7. Lightning arrêt
Fig.2 Diagramme schématique de la structure de l'appareil de commutation

1. logement 2. Branche de petit busbar 3. Busbar sleeve 4. Busbar principal
5. Dispositif de contact statique 6. Boîte de contact statique 7. Transformateurs actuels
8. Commutateur de terre 9. Le câble 10. Arrestation de surcharge 11. Le bus principal
12. Chargement et partition détachable 13. Partition (Flap) 14. Plug secondaire
15. Disjoncteur chariot à main 16. Dispositif de chauffage 17. Cloison horizontale extractible
18. Mécanisme de fonctionnement du commutateur de mise à la terre 19. Plaque de base
A.Salle de jeux de barres B. Disjoncteur pour charrette à main C. Salle du câble D. Salle des instruments de relais
1.1. Appareil de soulagement de pression 1.2. Contrôle de petit trunking
Répondre aux normes
Le produit répond aux normes suivantes:
1.IEC-298
2.GB3906-1991
3.DLT404-19974. GB / T11022 - 1999
Schéma de câblage primaire
| Numéro de schéma | 001 | 002 | 003 | 004 | 005 | |
Diagramme de route primaire |
| |||||
| Courant actuel (A). | 630-4000 | |||||
Un Times Host vouloir électricité utilisation Yuan Item | Disjoncteur à vide | 1 | 1 | 1 | 1 | 1 |
| Transformateur LZZBJ9 - 12 | 2 | 2 | 2 | 3 | 3 | |
| Transformateur de tension RZL / REL | ||||||
| Disjoncteur haute pression (XRNP □) | ||||||
| Interrupteur de mise à la terre (EK6 / JN15-12) | 1 | 1 | 1 | |||
| Arrête-surtension HY5WZ - 17 / 45 | 3 | |||||
| utilisation | Réception de puissance et alimentation de puissance | Réception de puissance et alimentation de puissance | Réception de puissance et alimentation de puissance | Réception de puissance et alimentation de puissance | Réception de puissance et alimentation de puissance | |
| Numéro de schéma | 006 | 007 | 008 | 009 | 010 | |
Diagramme de route primaire |
| |||||
| Courant actuel (A). | 630-4000 | |||||
Un Times Host vouloir électricité utilisation Yuan Item | Disjoncteur à vide | 1 | 1 | 1 | 1 | 1 |
| Transformateur LZZBJ9 - 12 | 3 | 2 | 2 | 2 | 2 | |
| Transformateur de tension RZL / REL | ||||||
| Disjoncteur haute pression (XRNP) □) | ||||||
| Interrupteur de mise à la terre (EK6 / JN15-12) | 1 | 1 | 1 | |||
| Arrête-surtension HY5WZ - 17 / 45 | 3 | |||||
| utilisation | Feed | Contact (droite) | Contact (droite) | Contact (à gauche) | Contact (à gauche) | |
| Numéro de schéma | 011 | 012 | 013 | 014 | 015 | |
Diagramme de route primaire |
| |||||
| Courant actuel (A). | 630-4000 | |||||
Un Times Host vouloir électricité utilisation Yuan Item | Disjoncteur à vide | 1 | 1 | 1 | 1 | 1 |
| Transformateur LZZBJ9 - 12 | 3 | 3 | 2 | 2 | 2 | |
| Transformateur de tension RZL / REL | ||||||
| Disjoncteur haute pression (XRNP □) | ||||||
| Interrupteur de mise à la terre (EK6 / JN15-12) | 1 | 1 | 1 | |||
| Arrête-surtension HY5WZ - 17 / 45 | 3 | |||||
| utilisation | Ligne aérienne (contact droit) | Ligne aérienne (contact droit) | Ligne d'entrée et de sortie aérienne | Ligne d'entrée et de sortie aérienne | Ligne d'entrée et de sortie aérienne | |
| Numéro de schéma | 016 | 017 | 018 | 019 | 020 | |
Diagramme de route primaire |
| |||||
| Courant actuel (A). | 630-4000 | |||||
Un Times Host vouloir électricité utilisation Yuan Item | Disjoncteur à vide | |||||
| Transformateur LZZBJ9 - 12 | ||||||
| Transformateur de tension RZL / REL | /3 | 2/ | /3 | 2/ | /2 | |
| Disjoncteur haute pression (XRNP □) | 3 | 3 | 3 | 3 | 3 | |
| Interrupteur de mise à la terre (EK6 / JN15-12) | ||||||
| Arrête-surtension HY5WZ - 17 / 45 | 3 | 3 | 3 | |||
| utilisation | Mesure de voltage Arresté surge | Mesure de voltage Arresté surge | Mesure de voltage Arresté surge | Mesure de la tension (lien gauche) | Mesure de tension (lien droit) | |
| Numéro de schéma | 021 | 022 | 023 | 024 | 025 | |
Diagramme de route primaire |
| |||||
| Courant actuel (A). | 630-4000 | |||||
Un Times Host vouloir électricité utilisation Yuan Item | Disjoncteur à vide | |||||
| Transformateur LZZBJ9 - 12 | 2 | 2 | 3 | 3 | 2 | |
| Transformateur de tension RZL / REL | 2/ | 2/ | 2/ | 2/ | /3 | |
| Disjoncteur haute pression (XRNP □) | 3 | 3 | 3 | 3 | 3 | |
| Interrupteur de mise à la terre (EK6 / JN15-12) | ||||||
| Arrête-surtension HY5WZ - 17 / 45 | ||||||
| utilisation | Mesure couplet droit | Mesure couplet gauche | Mesure couplet gauche | Mesure couplet droit | Mesure couplet gauche | |
| Numéro de schéma | 026 | 027 | 028 | 029 | 030 | |
Diagramme de route primaire |
| |||||
| Courant actuel (A). | 630-4000 | |||||
Un Times Host vouloir électricité utilisation Yuan Item | Disjoncteur à vide | 1 | ||||
| Transformateur LZZBJ9 - 12 | 3 | Condensateur Bm12.7-16-1 3 | ||||
| Transformateur de tension RZL / REL | /3 | Transformateur 1 | /4 | /4 | ||
| Disjoncteur haute pression (XRNP □) | 3 | 3 | (XRNT) 3 | 3 | 3 | |
| Interrupteur de mise à la terre (EK6 / JN15-12) | 1 | 1 | 1 | |||
| Arrête-surtension HY5WZ - 17 / 45 | 3 | 3 | 3 | |||
| utilisation | Incoming Metering | Armoire de transformateur utilisée (la largeur d'armoire est déterminée selon la taille de la taille variable utilisée) | Cabinets de condensateurs | Mesure de voltage Arresté surge | Mesure de voltage Arresté surge | |

◆Un Handcart Le squelette de la charrette à main est constitué de fines plaques d'acier traitées par des machines-outils CNC, puis rivetées et soudées. Selon l'application, la charette à main peut être divisée en charrette à main de disjoncteur, charrette à main de transformateur de tension, charrette à main d'isolement, charrette à main de mesure et d'autres charrettes à main de la même spécification, qui sont commodes pour l'interchangeabilité. Le chariot à main a une position d'isolement, une position d'essai et une position fonctionnante dans l'armoire, et chaque position est équipée d'un dispositif de positionnement pour s'assurer que le chariot à main ne peut pas être déplacé avec désinvolture quand il est dans la position ci-dessus, et le couplage doit être libéré quand le chariot à main est déplacé. |
|
◆Le busbar Le bus mène d'une armoire de commutation à une autre au moyen d'un bus de dérivation et d'un plateau de contact statique. L'autobus plat de branche est boulonné au plateau statique de contact et à l'autobus principal, sans besoin d'aucune brides ou connexions supplémentaires de breakout. Lorsque l'utilisateur et le projet ont des besoins spéciaux, les boulons de connexion sur la barre omnibus peuvent être encapsulés avec isolation et embouts. Lorsque le jeu de barres traverse la cloison de l'appareillage, il est fixé avec un manchon de jeu de barres. S'il y a un arc de défaut interne, il peut limiter la propagation de l'accident à l'armoire adjacente et assurer la résistance mécanique de la barre omnibus. |
|
◆Salle de câble C Des transformateurs de courant, des interrupteurs de mise à la terre, des parafoudres et des câbles peuvent être installés dans la salle des câbles, et des plaques d'aluminium amovibles avec fentes sont préparées au bas de la salle des câbles pour assurer la commodité de la construction sur site. |
|
◆D Salle des instruments Relay La salle d'instruments de relais est utilisée pour installer divers relais, instruments, indications de signal, commutateurs de fonctionnement et autres composants. En outre, une petite salle de jeu de barres peut être ajoutée au sommet de la salle des instruments selon les besoins des utilisateurs, et un bus de commande à seize voies peut être posé. |
|
◆Structure Lock La connexion entre la porte moyenne et l'armoire adopte une structure de serrure, et est équipée d'un mécanisme de levage pour rendre la porte moyenne plus commode pour s'ouvrir, et quand la porte moyenne est fermée, la force de connexion entre elle et l'armoire est meilleure, Ce qui augmente la capacité de résister effectivement au défaut interne de combustion d'arc. |
|
◆D Relayer la salle des instruments La porte de la salle des instruments est fermée et la salle des instruments est en vue de face. | ◆Dispositif de soulagement de pression Lorsque le disjoncteur ou la barre omnibus principale, la salle des câbles a un arc de défaut interne, avec l'apparition de l'électricité, la pression atmosphérique à l'intérieur du mécanisme augmente et après avoir atteint une certaine pression, La plaque métallique de libération de pression du dispositif supérieur sera automatiquement ouverte pour libérer la pression et le gaz de décharge pour assurer la sécurité de l'opérateur et de l'appareillage. |
